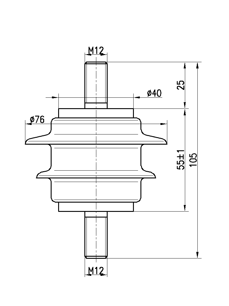
Опорный стержневой полимерный изолятор наружной установки с кремнийорганической защитной оболочкой типа ОСК 10-1-4 УХЛ1 предназначен для изоляции и крепления токоведущих частей в электрических аппаратах и в распределительных устройствах электроустановок напряжением до 1 кВ включительно. Изоляторы могут использоваться в подвижном составе городского электротранспорта. Высокая механическая прочность изолятора обеспечивается за счет применения в качестве силового элемента высокопрочного стеклопластикового стержня, соизмеримого по прочности с легированными конструкционными сталями. Поверх стержня и фланцев нанесена цельнолитая защитная кремнийорганическая (силиконовая) оболочка. Высокая гидрофобность поверхности защитной оболочки практически в любых условиях загрязнения и увлажнения росой обеспечивает низкие токи утечки (на 1 - 2 порядка ниже, чем у фарфоровых изоляторов), что, в свою очередь, повышает разрядные характеристики и положительным образом влияет на энергосбережение. Защитная оболочка из силикона также обладает высокой трекингостойкостью и негорючестью. По согласованию с заказчиком могут быть изготовлены изоляторы с другими размерами присоединительных шпилек.
|
Наименование параметра |
Значение параметра |
|
Номинальное рабочее напряжение, кВ |
1 |
|
Наибольшее рабочее напряжение, кВ |
1,1 |
|
Испытательное напряжение промышленной частоты в сухом состоянии, кВ, не менее |
10 |
|
Испытательное напряжение промышленной частоты под дождем, кВ, не менее |
7 |
|
Механическая разрушающая сила на изгиб, кH, не менее |
10 |
|
Механическая разрушающая сила при сжатии, кH, не менее |
100 |
|
Механическая разрушающая сила при растяжении, кH, не менее |
10 |
|
Механический разрушающий момент при кручении, Hм, не менее |
200 |
|
Длина пути утечки, мм, не менее |
80 |
|
Степень загрязнения изолятора по ГОСТ 9920 (СЗ), не более |
IV |
|
Масса, кг, не более |
0,6 |
Изоляторы изготавливаются по ТУ 3494-015-54276425-2005








