Согласно стандарта ПАО "Россети" СТО 34.01-2.2-010-2015 «Птицезащитные устройства для воздушных линий электропередачи и открытых распределительных устройств подстанций. Общие технические требования», безопасный для птиц изоляционный промежуток горизонтально эксплуатируемых изоляционных конструкций должен быть не менее 700 мм. Натяжные линейные птицезащищенные изоляторы типа ЛКПн применяемые на ВЛ 6 - 35 кВ и имеют изоляционные промежутки более 700 мм. Применение изоляторов ЛКПн позволяет исключить использование специальных птицезащитных устройств типа изоляционных кожухов для натяжных зажимов. Благодаря увеличенным изоляционным промежуткам изоляторы имеют повышенные разрядные характеристики как в чистом, так и в загрязненном состоянии, что не достижимо в случае применения обычных изоляторов в комплекте с защитными кожухами для натяжных зажимов. Изоляторы типа ЛКПн также как и изоляторы типа ЛКК изготавливаются с использованием стеклопластикового стержня типа ECR , применяемого для предотвращения разрушения изоляторов из-за кислотной коррозии стержня в случаях разгерметизации защитной оболочки при актах вандализма или неаккуратном обращении с изоляторами. Таким образом, изоляторы типа ЛКПн обладают повышенной устойчивостью к актам вандализма и, соответственно, - более высокой надежностью.
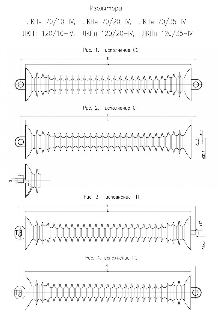
Линейные натяжные стержневые полимерные птицезащищенные изоляторы типа ЛКПн на напряжение 10 кВ, 20 кВ, 35 кВ
|
Наименование параметра |
ЛКПн 70/10-IV ЛКПн 70/20-IV |
ЛКПн 120/10-IV ЛКПн 120/20-IV |
ЛКПн 70/35-IV |
ЛКПн 120/35-IV |
|
Номинальное рабочее напряжение, кВ |
6 ÷ 20 |
6 ÷ 20 |
35 |
35 |
|
Наибольшее рабочее напряжение, кВ |
35 |
35 |
40,5 |
40,5 |
|
Выдерживаемое напряжение промышленной частоты в сухом состоянии и под дождем, кВ, не менее |
180 |
180 |
220 |
220 |
|
Выдерживаемое напряжение промышленной частоты загрязненного и увлажненного изолятора, кВ, не менее |
70 |
70 |
90 |
90 |
|
Выдерживаемое напряжение грозовых импульсов, кВ, не менее |
360 |
360 |
420 |
420 |
|
Механическая разрушающая сила при растяжении, кН, не менее |
70 |
120 |
70 |
120 |
|
Строительная длина, Н, мм |
733 |
733 |
833 |
833 |
|
Изоляционный промежуток, L, мм |
700 |
700 |
800 |
800 |
|
Длина пути утечки, мм, не менее |
1300 |
1300 |
1500 |
1500 |
| Диаметр отверстия в ушке, D, мм | 17+1,3 | 23+1,3 | 17+1,3 | 23+1,3 |
| Толщина ушка, S, мм | 16-1,1 | 22-1,3 | 16-1,1 | 22-1,3 |
|
Степень загрязнения изолятора по ГОСТ 9920 (СЗ), не более |
IV |
IV |
IV |
IV |
|
Масса, кг, не более |
4,2 |
4,2 |
4,5 |
4,5 |
Изоляторы соответствуют ТУ 3494-006-54276425-2003 и ГОСТ Р 55189-2012









