Натяжные изоляторы используются в натяжных узлах контактной сети железных дорог. Изоляторы модификации "Д" отличаются от изоляторов без модификации повышенной электрической прочностью внутренней изоляции. Изоляторы модификации "К" изготавливаются с использованием стеклопластикового стержня устойчивого к кислотной коррозии. Применение кислотостойкого стеклопластикового стержня повышает надежность изоляторов за счет устойчивости к кислотной коррозии стержня в случаях разгерметизации защитной оболочки при актах вандализма или при неаккуратном обращении с изоляторами.
Натяжные полимерные изоляторы постоянного тока для контактной сети железных дорог
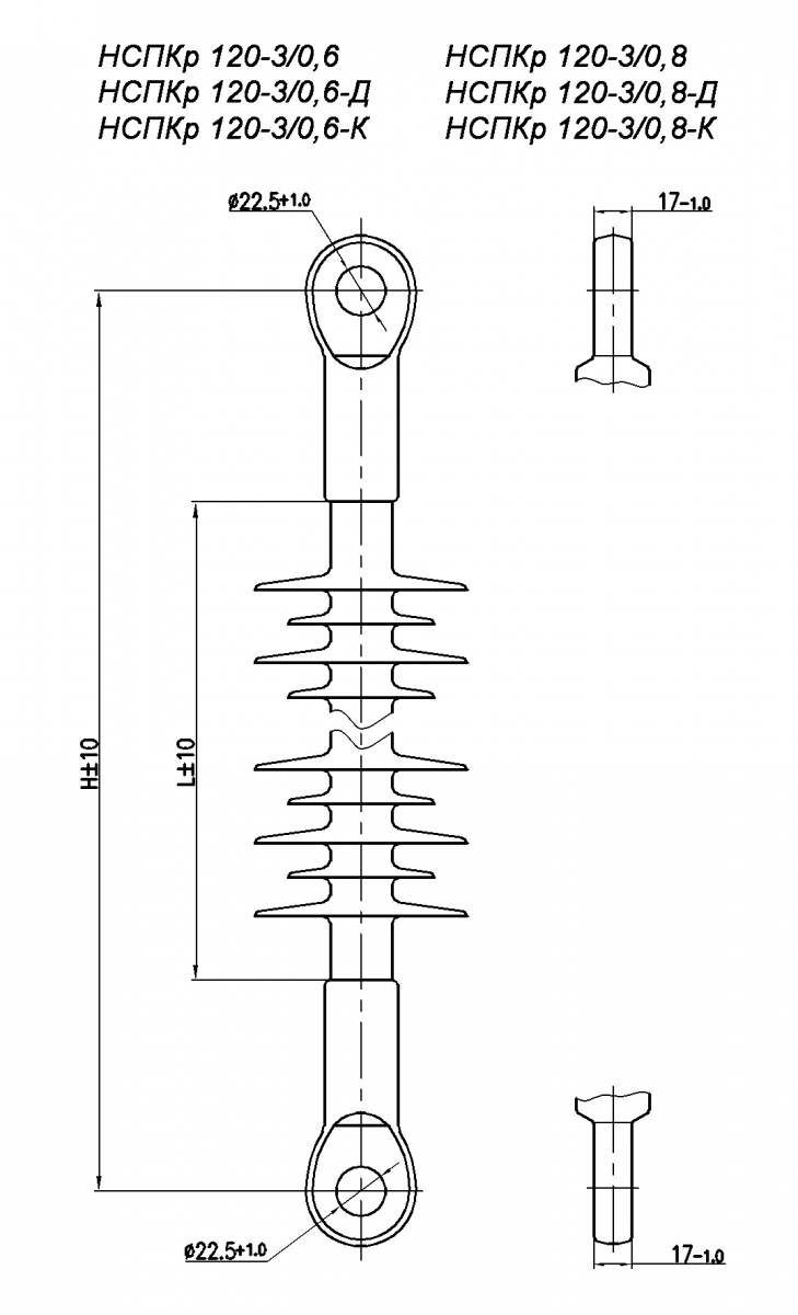
| Наименование параметра | НСПКр 120-3/0,6 НСПКр 120-3/0,6-Д НСПКр 120-3/0,6-К |
НСПКр 120-3/0,8 НСПКр 120-3/0,8-Д НСПКр 120-3/0,8-К |
| Номинальное рабочее напряжение, кВ | 3 | |
| Выдерживаемое напряжение промышленной частоты под дождем, кВ, не менее: - В горизонтальном положении - В вертикальном положении |
70 50 |
70 50 |
| Выдерживаемое напряжение промышленной частоты загрязненного и увлажненного изолятора, кВ, не менее | 15 | 20 |
| Выдерживаемое напряжение грозовых импульсов, кВ, не менее | 125 | 140 |
| Механическая разрушающая сила при растяжении, кH, не менее | 120 | |
| Длина пути утечки, м, не менее | 0,6 | 0,8 |
| Степень загрязнения атмосферы в районе эксплуатации изолятора (СЗА), не более | VII | VII |
| Строительная высота, H, мм | 435 | 535 |
| Масса, кг, не более | 2,4 | 2,6 |
| Климатическое исполнение и категория размещения по ГОСТ 15150 | УХЛ1 | |
Изоляторы соответствуют ТУ 3494-001-54276425-2001 и ГОСТ 30284
Примечание: НПО Изолятор постоянно работает над улучшением конструкции и повышением надежности изоляторов, в связи с чем, внешний вид защитной оболочки изолятора может отличаться от приведенного на рисунке, без изменения габаритных и присоединительных размеров изолятора.







