Изоляторы НСПКр 120-25/0,95; НСПКр 120-25/0,95-Д; НСПКр 120-25/0,95-К

Натяжные изоляторы используются в натяжных узлах контактной сети железных дорог. Изоляторы модификации "Д" отличаются от изоляторов без модификации повышенной электрической прочностью внутренней изоляции. Изоляторы модификации "К" изготавливаются с исользованием стеклопластикового стержня устойчивого к кислотной коррозии. Применение кислотостойкого стеклопластикового стержня повышает надежность изоляторов за счет устойчивости к кислотной коррозии стержня в случаях разгерметизации защитной оболочки при актах вандализма или при неаккуратном обращении с изоляторами.

Натяжные полимерные изоляторы переменного тока с длиной пути утечки 0,95 м для контактной сети железных дорог 

Наименование параметра НСПКр 120-25/0,95
НСПКр 120-25/0,95-Д
НСПКр 120-25/0,95-К
Номинальное рабочее напряжение, кВ 25
Выдерживаемое напряжение промышленной частоты под дождем, кВ, не менее:
       - В горизонтальном положении
       - В вертикальном положении
100
70
Выдерживаемое напряжение промышленной частоты загрязненного и увлажненного изолятора, кВ, не менее 40
Выдерживаемое напряжение грозовых импульсов, кВ, не менее 170
Механическая разрушающая сила при растяжении, кH, не менее 120
Длина пути утечки, м, не менее 0,95
Степень загрязнения атмосферы в районе эксплуатации изолятора (СЗА), не более IV
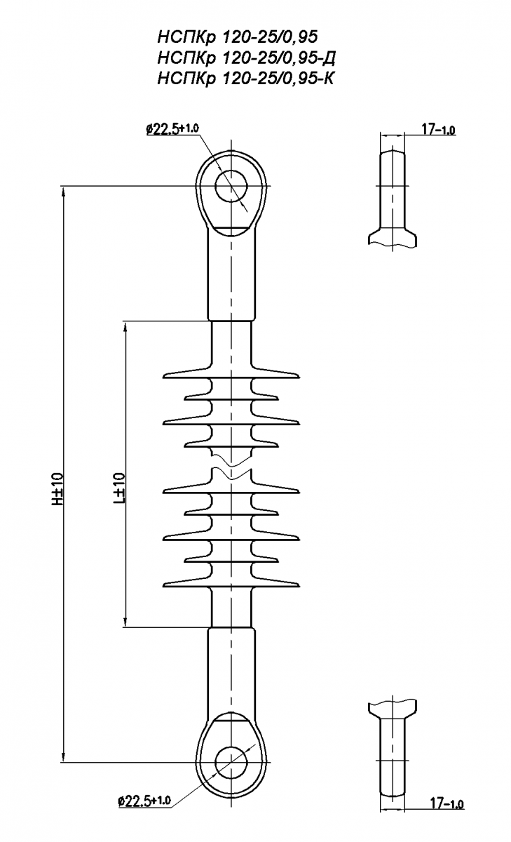
Строительная высота, H, мм 607
Длина изоляционной части, L, мм 373
Масса, кг, не более 2,8
Климатическое исполнение и категория размещения по ГОСТ 15150 УХЛ1

Изоляторы соответствуют ТУ 3494-001-54276425-2001 и ГОСТ 30284

Русский