Линейные опорные стержневые изоляторы типа ЛОК 12,5-20-4 УХЛ1 (другое обозначение - ЛОСК 12,5-20-4 УХЛ1) применяются на ВЛ 6-20 кВ. Изоляторы заменяют штыревой изолятор в комплекте со штырем и колпачком. Изоляторы ЛОК имеют несколько модификаций по типу головки под провод (традиционная и специальная), по диаметру и длине шпильки для крепления изолятора на траверсе. В отличие от штыревых изоляторов опорные линейные изоляторы имеют увеличенный в несколько раз изоляционный промежуток внутренней изоляции, что делает их практически непробиваемыми. В качестве элемента, воспринимающего механические нагрузки, в изоляторах используется высокопрочный стеклопластиковый стержень, соизмеримый по прочности с легированными конструкционными сталями. Высокая гидрофобность поверхности цельнолитой защитной оболочки из кремнийорганической резины (силикона) практически в любых условиях загрязнения обеспечивает низкие токи утечки (на 1 - 2 порядка ниже, чем у фарфоровых изоляторов), что, в свою очередь, повышает разрядные характеристики и положительным образом влияет на энергосбережение. Изоляторы являются вандалостойкими. По согласованию с заказчиком возможно изготовление изоляторов с другими присоединительными размерами шпилек. Монтаж провода на изоляторах осуществляется традиционно или при помощи спиральных вязок для изолированных проводов типа СВС ( подробнее) или для неизолированных проводов типа НВС (подробнее).
Линейные опорные полимерные изоляторы на напряжение до 20 кВ типа ЛОК 12,5-20-4 УХЛ1
|
Наименование параметра |
Значение параметра |
|
Номинальное рабочее напряжение, кВ |
20 |
|
Наибольшее рабочее напряжение, кВ |
24 |
|
Выдерживаемое напряжение промышленной частоты в сухом состоянии, кВ, не менее |
75 |
|
Выдерживаемое напряжение грозовых импульсов, кВ, не менее |
150 |
|
Выдерживаемое напряжение промышленной частоты под дождем, кВ, не менее |
60 |
|
Выдерживаемое напряжение промышленной частоты загрязненного и увлажненного изолятора, действующее значение, кВ, не менее |
20 |
|
Механическая разрушающая сила на изгиб, кН, не менее |
12,5 |
|
Длина пути утечки, мм, не менее |
440 |
|
Степень загрязнения изолятора по ГОСТ 9920 (СЗ) |
IV |
|
Масса, кг, не более |
3,2 |
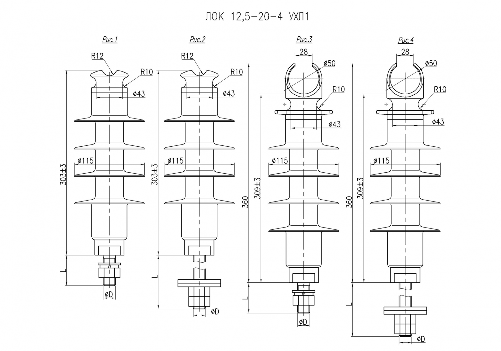
Присоединительные размеры изоляторов
|
Обозначение изолятора |
L, мм |
D, мм |
Рис. |
Назначение |
|
ЛОК 12,5-20-4-20-50 УХЛ 1 |
50 |
М20 |
1 |
Для металлических траверс |
|
ЛОК 12,5-20-4-20-90 УХЛ 1 |
90 |
М20 |
1 |
Для металлических траверс |
|
ЛОК 12,5-20-4-20-135 УХЛ 1 |
135 |
М20 |
2 |
Для деревянных траверс |
|
ЛОК 12,5-20-4-20-210 УХЛ 1 |
210 |
М20 |
2 |
Для деревянных траверс |
|
ЛОК 12,5-20-4-24-50 УХЛ 1 |
50 |
М24 |
1 |
Для металлических траверс |
|
ЛОК 12,5-20-4-24-90 УХЛ 1 |
90 |
М24 |
1 |
Для металлических траверс |
|
ЛОК 12,5-20-4-24-135 УХЛ 1 |
135 |
М24 |
2 |
Для деревянных траверс |
|
ЛОК 12,5-20-4-24-210 УХЛ 1 |
210 |
М24 |
2 |
Для деревянных траверс |
|
ЛОК 12,5-20-4-20-50 УХЛ 1 исп. 1 |
50 |
М20 |
3 |
Для металлических траверс |
|
ЛОК 12,5-20-4-20-90 УХЛ 1 исп. 1 |
90 |
М20 |
3 |
Для металлических траверс |
|
ЛОК 12,5-20-4-20-135 УХЛ 1 исп. 1 |
135 |
М20 |
4 |
Для деревянных траверс |
|
ЛОК 12,5-20-4-20-210 УХЛ 1 исп. 1 |
210 |
М20 |
4 |
Для деревянных траверс |
|
ЛОК 12,5-20-4-24-50 УХЛ 1 исп. 1 |
50 |
М24 |
3 |
Для металлических траверс |
|
ЛОК 12,5-20-4-24-90 УХЛ 1 исп. 1 |
90 |
М24 |
3 |
Для металлических траверс |
|
ЛОК 12,5-20-4-24-135 УХЛ 1 исп. 1 |
135 |
М24 |
4 |
Для деревянных траверс |
|
ЛОК 12,5-20-4-24-210 УХЛ 1 исп. 1 |
210 |
М24 |
4 |
Для деревянных траверс |
Изоляторы соответствуют ТУ 3494-019-54276425-2009.








