Изоляторы с нейтральной вставкой предназначены для предотвращения попадания несущей конструкции под напряжение в случае пробоя или перекрытия изолятора, а также - для предотвращения электрохимической коррозии несущей конструкции из-за токов утечки по изолятору. Обычно изоляторы с нейтральной вставкой используются при креплении элементов контактной сети к искусственным сооружениям (мосты, путепроводы, опоры на железнодорожных станциях, тоннели и т.д.). Изоляторы имеют отвод для подсоединения провода заземления. Для обеспечения указанных функций провод заземления должен иметь электрическую развязку с искусственным сооружением.
Крнсольные полимерные изоляторы постоянного тока с нейтральной вставкой для контактной сети железных дорог
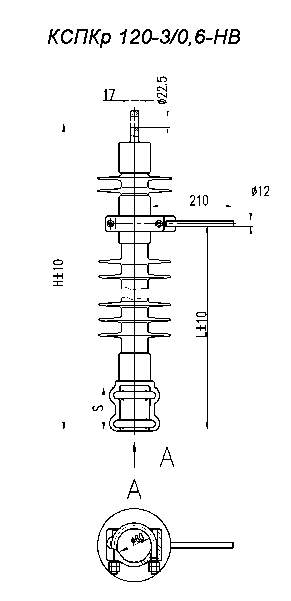
| Наименование параметра | КСПКр 120-3/0,6-НВ | |
| Номинальное рабочее напряжение, кВ | 3 | |
| Выдерживаемое напряжение промышленной частоты под дождем, кВ, не менее: - В горизонтальном положении - В вертикальном положении |
40 |
|
| Выдерживаемое напряжение промышленной частоты загрязненного и увлажненного изолятора, действующее значение, кВ, не менее | 15 | |
| Выдерживаемое напряжение грозовых импульсов, кВ, не менее | 90 | |
| Механическая разрушающая сила при растяжении, кH, не менее | 120 | |
| Разрушающий изгибающий момент, кНм, не менее | 6,0 | |
| Длина пути утечки, м, не менее | 0,6 | |
| Степень загрязнения атмосферы в районе эксплуатации изолятора (СЗА), не более | VII | |
| Строительная высота, Н, мм | 630 | |
| Расстояние до отвода заземления, L, мм | 404 | |
| Масса, кг, не более | 9,0 | |
| Климатическое исполнение и категория размещения по ГОСТ 15150 | УХЛ1 | |
Изоляторы соответствуют ТУ 3494-002-32943884-2019 и ГОСТ 30284
Русский







