Линейные подвесные стержневые полимерные изоляторы типов ЛК 120/35 и ЛКК 120/35 предназначены для изоляции и крепления проводов и грозозащитных тросов воздушных линий электропередачи и ошиновки распределительных устройств электростанций и подстанций переменного тока напряжением до 35 кВ. Изоляторы могут использоваться как в поддерживающих, так и в натяжных изолирующих подвесках. Для использования изоляторов в натяжных изолирующих подвесках рекомендуется выбирать изоляторы на IV СЗ по ГОСТ 9920 согласно п. 1.9.13 и п. 1.9.50 ПУЭ-7. Изоляторы типа ЛКК – устойчивые к кислотной коррозии – изготавливаются с использованием стеклопластикового стержня типа ECR , применяемого для предотвращения разрушения изоляторов из-за кислотной коррозии стержня в случаях разгерметизации защитной оболочки при актах вандализма или неаккуратном обращении с изоляторами. Таким образом, изоляторы типа ЛКК обладают повышенной устойчивостью к актам вандализма и, соответственно, - более высокой надежностью.
При необходимости защиты изоляторов от электрических перекрытий по вине птиц, а птиц - от поражения электрическим током, применяются птицезащищенные линейные подвесные полимерные изоляторы типа ЛКП и птицезащищенные линейные натяжные полимерные изоляторы типа ЛКПн, а также - птицезащитные устройства изолирующего типа ИПЗУ 6-35/46.
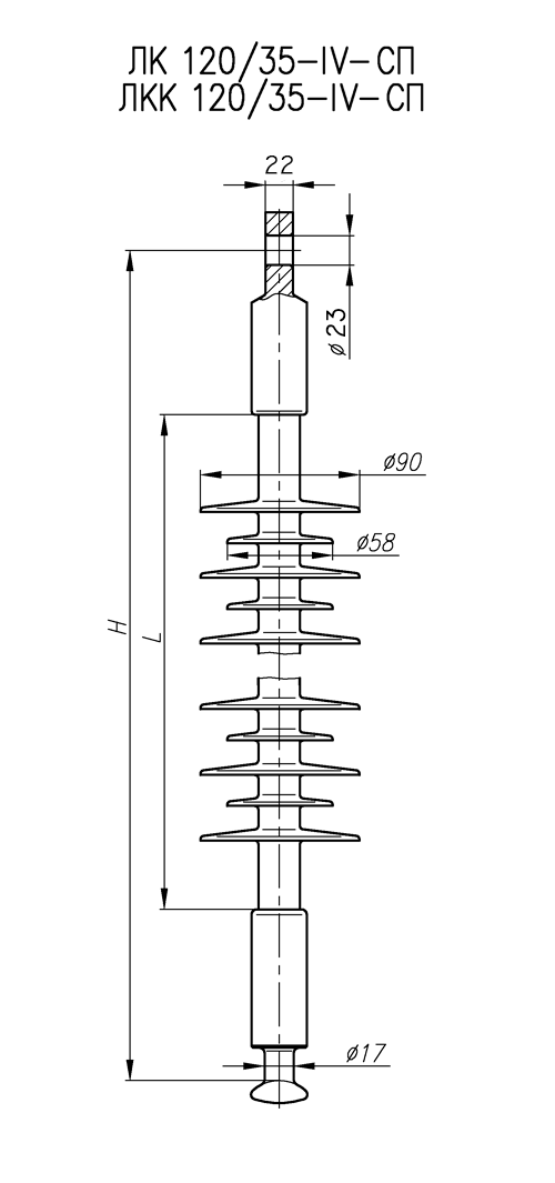
Изоляторы выпускаются в четырех исполнениях по типам применяемых оконцевателей: СП, ГП, ГС, СС. По специальному заказу возможны другие исполнения оконцевателей.
Линейные подвесные стержневые изоляторы на напряжение 35 кВ класса 120 кН типа ЛК 120/35-IV и ЛКК 120/35-IV - устойчивые к кислотной коррозии
|
Наименование параметра |
ЛК 120/35-IV-СП ЛК 120/35-IV-ГП ЛК 120/35-IV-ГС ЛК 120/35-IV-СС ЛКК 120/35-IV-СП ЛКК 120/35-IV-ГП ЛКК 120/35-IV-ГС ЛКК 120/35-IV-СС |
|
Номинальное рабочее напряжение, кВ |
35 |
|
Наибольшее рабочее напряжение, кВ |
40,5 |
|
Выдерживаемое напряжение промышленной частоты в сухом состоянии, кВ, не менее |
180 |
|
Выдерживаемое напряжение промышленной частоты под дождем, кВ, не менее |
150 |
|
50%-ое разрядное напряжение промышленной частоты загрязненного и увлажненного изолятора, кВ, не менее |
55 |
|
Выдерживаемое напряжение грозовых импульсов, кВ, не менее |
280 |
|
Механическая разрушающая сила при растяжении, кН, не менее |
120 |
|
Строительная длина, Н, мм |
775 |
|
Изоляционный промежуток, L, мм |
524 |
|
Длина пути утечки, мм, не менее |
1520 |
|
Степень загрязнения изолятора по ГОСТ 9920 (СЗ), не более |
IV |
|
Степень загрязнения атмосферы в районе эксплуатации изолятора (СЗА), не более |
VII |
|
Масса, кг, не более |
2,8 |
Изоляторы соответствуют ТУ 3494-006-54276425-2003, ГОСТ 28856, ГОСТ Р 55189 и МЭК 61109
Пример условного обозначения изолятора:
ЛКК 120/35-IV-ГП - изолятор линейный стержневой полимерный с защитной оболочкой из кремнийорганической резины, устойчивый к кислотной коррозии, на нормированную разрушающую нагрузку на растяжение 120 кН, на напряжение 35 кВ, для эксплуатации в районах со степенью загрязнения по ГОСТ 9920 до IV включительно, имеющий верхний оконцеватель типа "Гнездо", а нижний - "Пестик"








