Опорные стержневые полимерные изоляторы наружной установки с кремнийорганической защитной оболочкой типа ОСК 10-35-3 УХЛ1 и ОСК 12,5-35-Т-3 УХЛ1 предназначены для изоляции и крепления токоведущих частей в электрических аппаратах, распределительных устройствах электрических станций и подстанций переменного тока напряжением до 35 кВ. В качестве элемента, воспринимающего механические нагрузки, в изоляторах используется высокопрочный стеклопластиковый стержень, соизмеримый по прочности с легированными конструкционными сталями. Высокая гидрофобность поверхности цельнолитой защитной оболочки из кремнийорганической резины (силикона) практически в любых условиях загрязнения обеспечивает низкие токи утечки (на 1 - 2 порядка ниже, чем у фарфоровых изоляторов), что, в свою очередь, повышает разрядные характеристики и положительным образом влияет на энергосбережение. Изоляторы ОСК 10-35-3 УХЛ1 и ОСК 12,5-35-Т-3 УХЛ1 не предназначены для использования в составе изоляционных колонок на более высокие классы напряжений (110, 150, 220 кВ); для этих целей применяются изоляторы ОСК 20-35 УХЛ1.
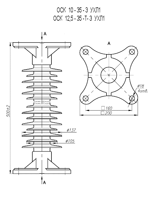
ОПОРНЫЙ СТЕРЖНЕВОЙ ПОЛИМЕРНЫЙ ИЗОЛЯТОР НАРУЖНОЙ УСТАНОВКИ НА НАПРЯЖЕНИЕ 35 кВ
| Наименование параметра | ОСК 10-35-3 УХЛ1 | ОСК 12,5-35-Т-3 УХЛ1 |
| Номинальное рабочее напряжение, кВ | 35 | |
| Наибольшее рабочее напряжение, кВ | 40,5 | |
| Выдерживаемое напряжение промышленной частоты в сухом состоянии, кВ, не менее | 150 | |
| Выдерживаемое напряжение промышленной частоты под дождем, кВ, не менее | 120 | |
| 50%-ое разрядное напряжение промышленной частоты загрязненного и увлажненного изолятора, действующее значение, кВ, не менее | 42 | |
| Выдерживаемое напряжение грозовых импульсов, кВ, не менее | 250 | |
| Механическая разрушающая сила на изгиб, кH, не менее | 10 | 12,5 |
| Механический разрушающий крутящий момент, кHм, не менее | 1,0 | |
| Длина пути утечки, мм, не менее | 1320 | |
| Степень загрязнения изолятора по ГОСТ 9920 (СЗ), не более | III | |
| Степень загрязнения атмосферы в районе эксплуатации изолятора (СЗА), не более | V | |
| Масса, кг, не более | 11 | |
| Фарфоровый аналог | ИОС-35-1000 УХЛ1 | |
Изоляторы соответствуют ТУ 3494-011-54276425-2004 и ГОСТ Р 52082








