Опорный стержневой полимерный изолятор наружной установки с кремнийорганической защитной оболочкой типа ОСК 30-20-2 УХЛ1 предназначен для изоляции и крепления токоведущих частей в электрических аппаратах, распределительных устройствах электрических станций и подстанций переменного тока напряжением до 20 кВ. В качестве элемента, воспринимающего механические нагрузки, в изоляторах используется высокопрочный стеклопластиковый стержень, соизмеримый по прочности с легированными конструкционными сталями. Высокая гидрофобность поверхности цельнолитой защитной оболочки из кремнийорганической резины (силикона) практически в любых условиях загрязнения обеспечивает низкие токи утечки (на 1 - 2 порядка ниже, чем у фарфоровых изоляторов), что, в свою очередь, повышает разрядные характеристики и положительным образом влияет на энергосбережение. По согласованию с заказчиком возможны другие исполнения изоляторов по присоединительным размерам.
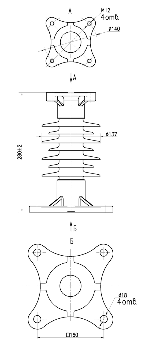
Опорный стержневой полимерный изолятор на напряжение 20 кВ типа ОСК 30-20-2 УХЛ1
| Наименование параметра | Значение параметра | |
| Номинальное рабочее напряжение, кВ | 20 | |
| Наибольшее рабочее напряжение, кВ | 24 | |
| Выдерживаемое напряжение промышленной частоты в сухом состоянии, кВ, не менее | 65 | |
| Выдерживаемое напряжение промышленной частоты под дождем, кВ, не менее | 50 | |
| 50%-ое разрядное напряжение промышленной частоты загрязненного и увлажненного изолятора, действующее значение, кВ, не менее | 26 | |
| Выдерживаемое напряжение грозовых импульсов, кВ, не менее | 125 | |
| Минимальная разрушающая сила на изгиб, кH | 30 | |
| Минимальный разрушающий крутящий момент, кHм | 1,0 | |
| Минимальная разрушающая сила при растяжении, кН | 80 | |
| Минимальная разрушающая сила при сжатии, кН | 500 | |
| Длина пути утечки, мм, не менее | 620 | |
| Степень загрязнения изолятора по ГОСТ 9920 (СЗ), не более | II | |
| Степень загрязнения атмосферы в районе эксплуатации изолятора (СЗА), не более | IV | |
| Масса, кг, не более | 8,6 | |
Изоляторы соответствуют ТУ 3494-015-54276425-2005 и ГОСТ Р 52082








