Опорные стержневые полимерные изоляторы наружной установки с кремнийорганической защитной оболочкой типа ОСК 8-10-1 УХЛ1 предназначены для изоляции и крепления токоведущих частей в электрических аппаратах, распределительных устройствах электрических станций и подстанций переменного и постоянного тока напряжением до 10 кВ. В качестве элемента, воспринимающего механические нагрузки в изоляторе используется высокопрочный стеклопластиковый стержень, соизмеримый по прочности с легированными конструкционными сталями. Высокая гидрофобность поверхности цельнолитой защитной оболочки из кремнийорганической резины (силикона) практически в любых условиях загрязнения обеспечивает низкие токи утечки (на 1 - 2 порядка ниже, чем у фарфоровых изоляторов), что, в свою очередь, повышает разрядные характеристики и положительным образом влияет на энергосбережение. Изолятор имеет несколько исполнений по присоединительным размерам фланцев. По согласованию с заказчиком возможны другие исполнения присоединительных размеров фланцев. Буква "А" в обозначении изоляторов означает, что фланцы выполнены из немагнитных материалов.
Опорный стержневой полимерный изолятор наружной установки на напряжение 10 кВ типа ОСК 8-10-1 УХЛ1
| Наименование параметра | Значение параметра |
|
Номинальное рабочее напряжение, кВ |
10 |
|
Выдерживаемое напряжение промышленной частоты в сухом состоянии, кВ, не менее |
45 |
|
Выдерживаемое напряжение промышленной частоты под дождем, кВ, не менее |
30 |
|
Выдерживаемое напряжение грозовых импульсов, кВ, не менее |
80 |
|
50%-е разрядное напряжение при искусственном загрязнении, кВ, не менее |
13 |
|
Механическая разрушающая сила на изгиб, кH, не менее |
8 |
|
Механическая разрушающая сила при растяжении, кH, не менее |
25 |
|
Механическая разрушающая сила при сжатии, кH, не менее |
100 |
|
Механический разрушающий крутящий момент, Н·м, не менее |
200 |
|
Длина пути утечки, мм, не менее |
220 |
|
Степень загрязнения по ГОСТ 9920 |
I |
|
Масса, кг, не более |
1,1 |
|
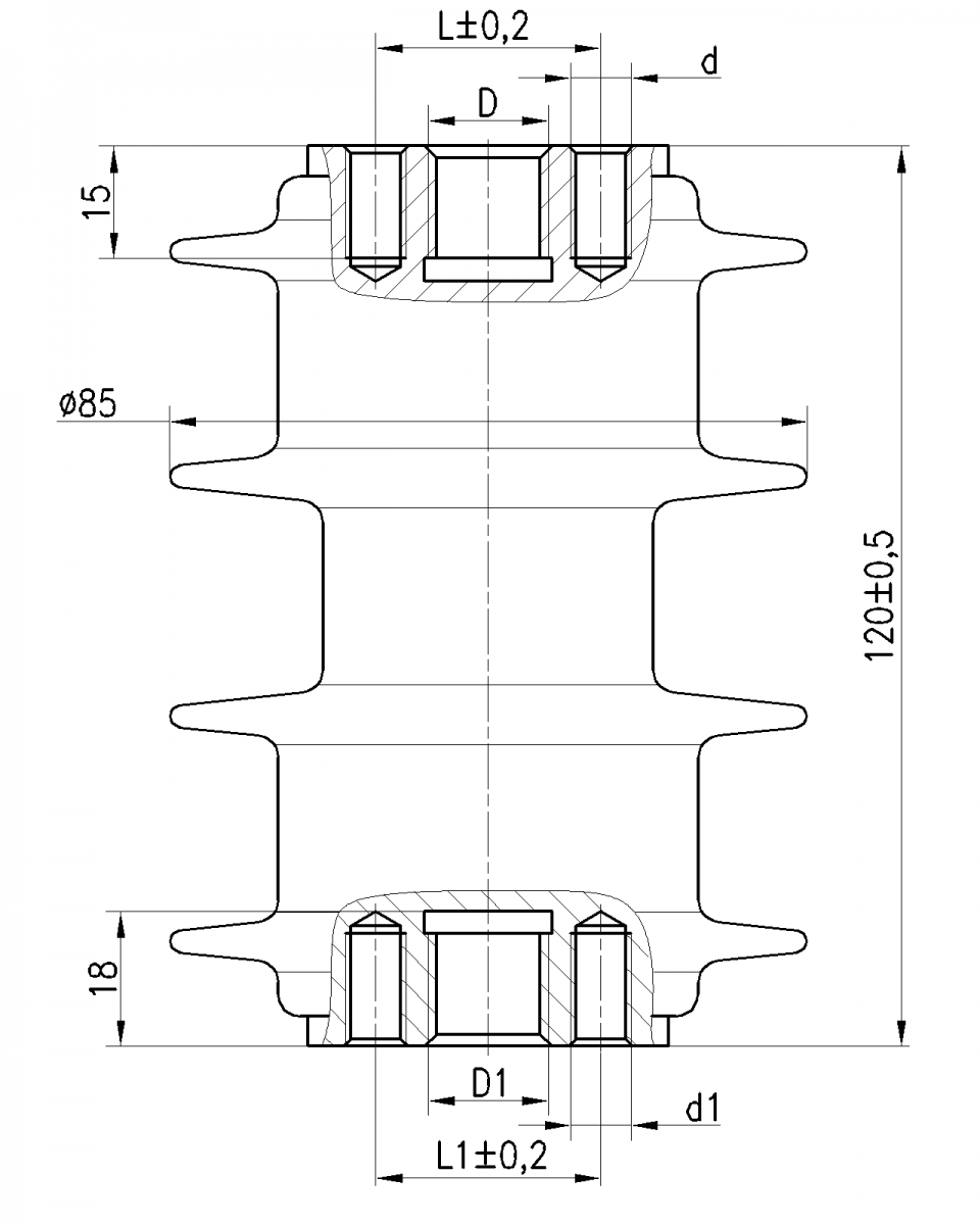
Тип изолятора |
D, мм |
d, мм |
L, мм |
D1, мм |
d1, мм |
L1, мм |
|
ОСК 8-10-01-1 УХЛ1 |
М16 |
|
- |
М16 |
|
- |
|
ОСК 8-10-02-1 УХЛ1 |
|
2 отв. М8 |
30 |
|
2 отв. М8 |
30 |
|
ОСК 8-10-03-1 УХЛ1 |
|
2 отв. М10 |
23 |
|
2 отв. М10 |
23 |
|
ОСК 8-10-04-1 УХЛ1 |
М16 |
|
- |
|
2 отв. М8 |
30 |
|
ОСК 8-10-05-1 УХЛ1 |
М16 |
|
- |
|
2 отв. М10 |
23 |
|
ОСК 8-10-06-1 УХЛ1 |
М16 |
2 отв. М8 |
30 |
М16 |
2 отв. М8 |
30 |
|
ОСК 8-10-07-1 УХЛ1 |
М12 |
|
- |
|
2 отв. М8 |
18 |
|
ОСК 8-10-08-1 УХЛ1 |
М16 |
2 отв. М8 |
30 |
М16 |
|
- |
|
ОСК 8-10-09-1 УХЛ1 |
М12 |
|
- |
М12 |
|
- |
|
ОСК 8-10-10-1 УХЛ1 |
М10 |
|
- |
|
2 отв. М8 |
23 |
|
ОСК 8-10-11-1 УХЛ1 |
М10 |
|
- |
М12 |
|
- |
Примечание. Изоляторы, имеющие в обозначении индекс "А" изготовлены с применением немагнитных фланцев, и предназначены для эксплуатации при больших токовых нагрузках.








