Опорные стержневые полимерные изоляторы внутренней установки с кремнийорганической защитной оболочкой типа ОСК 4-6 УХЛ2 предназначены для изоляции и крепления токоведущих частей в электрических аппаратах, в электродвигателях, в закрытых распределительных устройствах электрических станций и подстанций переменного тока напряжением до 6 кВ. Изоляторы изготовлены по технологии, применяемой для изоляторов наружной установки: металлические фланцы опрессованы на силовом элементе - высокопрочном стеклопластиковом стержне, соизмеримым по прочности с легированными конструкционными сталями. Поверх стержня и фланцев нанесена цельнолитая защитная кремнийорганическая (силиконовая) оболочка. Высокая гидрофобность поверхности защитной оболочки практически в любых условиях загрязнения и увлажнения росой обеспечивает низкие токи утечки (на 1 - 2 порядка ниже, чем у фарфоровых изоляторов), что, в свою очередь, повышает разрядные характеристики и положительным образом влияет на энергосбережение. Изоляторы имеют несколько исполнений по размерам присоединительных шпилек во фланцах. По согласованию с заказчиком возможно изготовление изоляторов с другими присоединительными размерами присоединительных шпилек.
ОПОРНЫЙ СТЕРЖНЕВОЙ ПОЛИМЕРНЫЙ ИЗОЛЯТОР ВНУТРЕННЕЙ УСТАНОВКИ НА НАПРЯЖЕНИЕ 6 кВ
| Наименование параметра | ОСК 4-6 УХЛ2 |
| Номинальное рабочее напряжение, кВ | 6 |
| Наибольшее рабочее напряжение, кВ | 7,2 |
| Выдерживаемое напряжение промышленной частоты в сухом состоянии, кВ, не менее | 32 |
| Выдерживаемое напряжение грозовых импульсов, кВ, не менее | 60 |
| Механическая разрушающая сила на изгиб, кH, не менее | 4 |
| Длина пути утечки, мм, не менее | 140 |
| Вес, кг, не более | 0,4 |
| Фарфоровый аналог | ИОР-6-2,5 УХЛ3 СА-3/6-У3 |
Изоляторы соответствуют ТУ 3494-014-54276425-2005
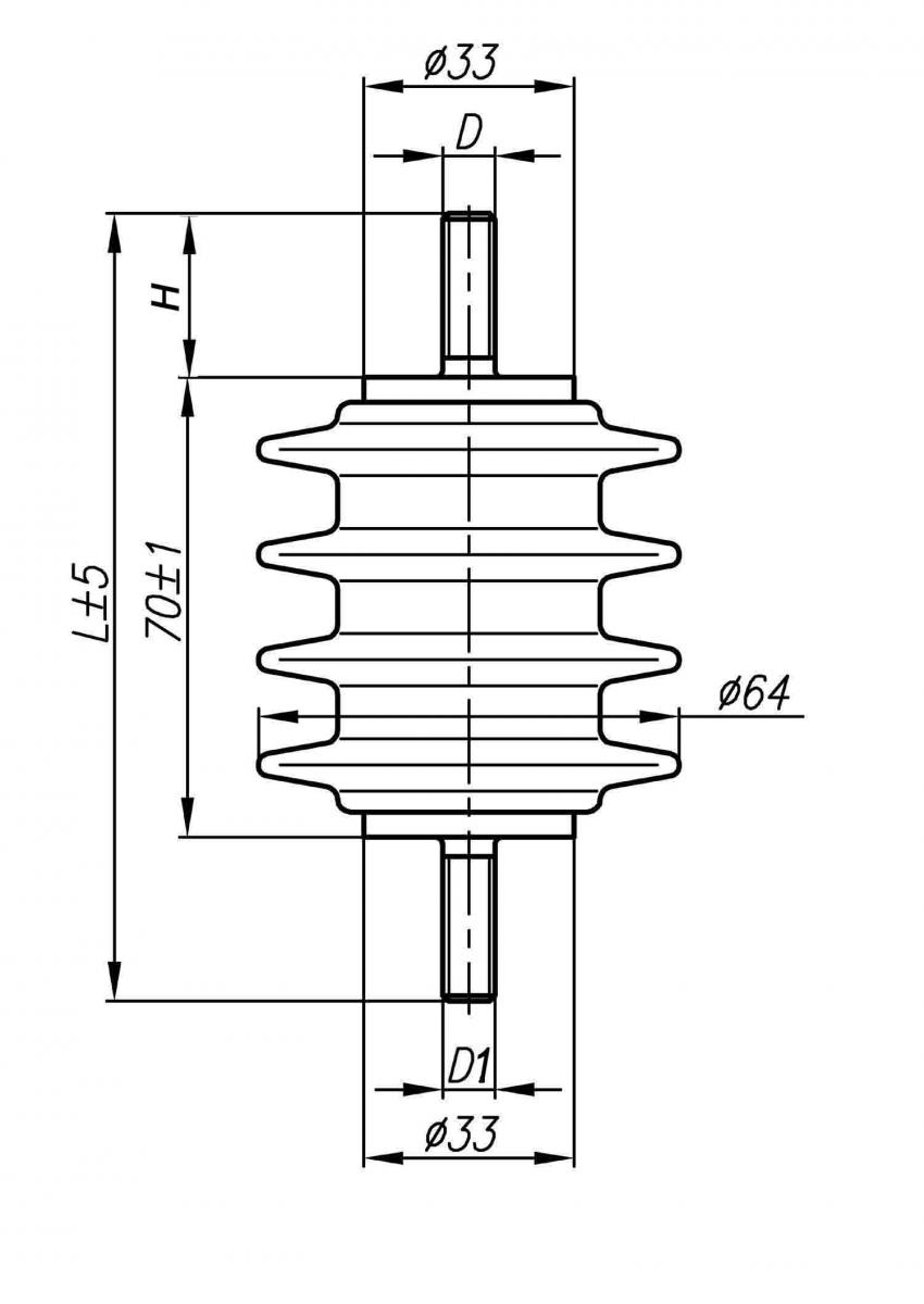
|
Обозначение изолятора |
D, мм |
D1, мм |
L, мм |
Н, мм |
|
ОСК 4-6-А УХЛ2 |
М8 |
М8 |
120 |
25 |
|
ОСК 4-6-М УХЛ2 |
М8 |
М8 |
130 |
30 |
|
ОСК 4-6-Н УХЛ2 |
М8 |
М10 |
130 |
30 |
|
ОСК 4-6-П УХЛ2 |
М8 |
М12 |
137 |
37 |
|
ОСК 4-6-У УХЛ2 |
М10 |
М10 |
120 |
25 |
|
ОСК 4-6-Э УХЛ2 |
М10 |
М10 |
140 |
25 |
|
ОСК 4-6-Б УХЛ2 |
М10 |
М10 |
130 |
30 |
|
ОСК 4-6-Г УХЛ2 |
М10 |
М10 |
140 |
35 |
|
ОСК 4-6-Д УХЛ2 |
М10 |
М10 |
156 |
43 |
|
ОСК 4-6-Л УХЛ2 |
М10 |
М10 |
170 |
50 |
|
ОСК 4-6-С УХЛ2 |
М10 |
М12 |
130 |
40 |
|
ОСК 4-6-Е УХЛ2 |
М10 |
М12 |
156 |
43 |
|
ОСК 4-6-Т УХЛ2 |
М10 |
М12 |
140 |
45 |
|
ОСК 4-6-Р УХЛ2 |
М10 |
М12 |
147 |
47 |
|
ОСК 4-6-К УХЛ2 |
М12 |
М12 |
140 |
25 |
|
ОСК 4-6-В УХЛ2 |
М12 |
М12 |
140 |
35 |
|
ОСК 4-6-И УХЛ2 |
М12 |
М12 |
170 |
50 |
|
ОСК 4-6-Ж УХЛ2 |
М12 |
М16 |
125 |
30 |
| ОСК 4-6-Ф УХЛ2 | М16 | М16 | 140 | 35 |








