Опорные стержневые полимерные изоляторы внутренней установки с кремнийорганической защитной оболочкой типа ОСК 8-6 УХЛ2 предназначены для изоляции и крепления токоведущих частей в электрических аппаратах, в закрытых распределительных устройствах электрических станций и подстанций переменного тока напряжением до 6 кВ. Изоляторы изготовлены по технологии, применяемой для изоляторов наружной установки: металлические фланцы опрессованы на силовом элементе - высокопрочном стеклопластиковом стержне, соизмеримым по прочности с легированными конструкционными сталями. Поверх стержня и фланцев нанесена цельнолитая защитная кремнийорганическая (силиконовая) оболочка. Высокая гидрофобность поверхности защитной оболочки практически в любых условиях загрязнения и увлажнения росой обеспечивает низкие токи утечки (на 1 - 2 порядка ниже, чем у фарфоровых изоляторов), что, в свою очередь, повышает разрядные характеристики и положительным образом влияет на энергосбережение. Изоляторы имеют несколько исполнений по размерам присоединительных отверстий во фланцах. По согласованию с заказчиком возможно изготовление изолятора с другими присоединительными размерами крепежных отверстий во фланцах, а также - других климатических исполнений.
Опорный стержневой полимерный изолятор внутренней установки на напряжение до 6 кВ
| Наименование параметра |
Значение |
| Номинальное рабочее напряжение, кВ |
6 |
| Наибольшее рабочее напряжение, кВ |
7,2 |
| Испытательное напряжение промышленной частоты в сухом состоянии, кВ, не менее |
32 |
| Испытательное напряжение грозовых импульсов, кВ, не менее |
60 |
| Механическая разрушающая сила при изгибе, кH, не менее |
8 |
| Механический разрушающий крутящий момент, Нм, не менее | 250 |
| Механическая разрушающая сила при сжатии, кH, не менее |
200 |
| Механическая разрушающая сила при растяжении, кH, не менее | 10 |
| Длина пути утечки, мм, не менее |
160 |
| Масса, кг, не более |
0,9 |
| Фарфоровый аналог |
ИО-6-3,75 I У3, |
Изоляторы соответствуют ТУ 3494-014-54276425-2005
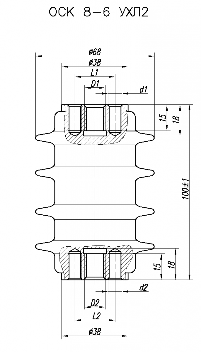
Присоединительные размеры изоляторов
| Обозначение изолятора |
Верхний фланец* |
Нижний фланец* |
||||
|
D1, мм |
d1, мм |
L1, мм |
D2, мм |
d2, мм |
L2, мм |
|
| ОСК 8-6-2 УХЛ2 |
М16 |
- |
- |
М16 |
- |
- |
| ОСК 8-6-4 УХЛ2 |
- |
2 отв. М10 |
23 |
- |
2 отв. М10 |
23 |
| ОСК 8-6-6 УХЛ2 |
- |
2 отв. М10 |
23 |
М16 |
- |
- |
| ОСК 8-6-8 УХЛ2 | - | 2 отв. М8 |
18 |
М12 |
- | - |
| ОСК 8-6-10 УХЛ2 |
М12 |
- |
- |
М12 |
- |
- |
| ОСК 8-6-11 УХЛ2 |
М10 |
- |
- |
- |
2 отв. М10 |
23 |
| ОСК 8-6-12 УХЛ2 | М8 | - | - | М10 | - | - |
| ОСК 8-6-13 УХЛ2 |
М10 |
- |
- |
М12 |
- |
- |
| ОСК 8-6-16 УХЛ2 | М10 | - | - | М10 | - | - |
| ОСК 8-6-17 УХЛ2 | М20 | - | - | М20 | - | - |
| ОСК 8-6-20 УХЛ2 | - | 2 отв. М8 | 18 | М16 | - | - |
| ОСК 8-6-21 УХЛ2 | М8 | - | - | М12 | - | - |
| ОСК 8-6-22 УХЛ2 | - | 2 отв. М8 | 23 | М12 | - | - |
| ОСК 8-6-25 УХЛ2 | М10 | - | - | М16 | - | - |
Примечания:
1. * Любой из фланцев может быть как верхним так и нижним.
2. По заказу изготавливаются изоляторы с другими размерами крепежных отверстий








