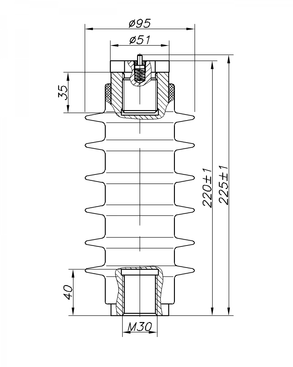
Опорный стержневой полимерный изолятор внутренней установки с кремнийорганической защитной оболочкой типа ОСК 8-20-Ж УХЛ2 предназначен для изоляции и крепления токоведущих частей в экранированных токопроводах генераторного напряжения до 20 кВ. Изоляторы изготовлены по технологии, применяемой для изоляторов наружной установки: немагнитные металлические фланцы опрессованы на силовом элементе - высокопрочном стеклопластиковом стержне, соизмеримым по прочности с легированными конструкционными сталями. Поверх стержня и фланцев нанесена цельнолитая защитная трекингостойкая кремнийорганическая (силиконовая) оболочка. Высокая гидрофобность поверхности защитной оболочки практически в любых условиях загрязнения и увлажнения росой обеспечивает низкие токи утечки (на 1 - 2 порядка ниже, чем у фарфоровых изоляторов), что, в свою очередь, повышает разрядные характеристики и положительным образом влияет на энергосбережение. По согласованию с заказчиком возможно изготовление изолятора с другими присоединительными размерами крепежных отверстий во фланцах.
ОПОРНЫЙ ПОЛИМЕРНЫЙ ИЗОЛЯТОР ВНУТРЕННЕЙ УСТАНОВКИ НА НАПРЯЖЕНИЕ 20 кВ типа ОСК 8-20-Ж УХЛ2
| Наименование параметра | Значение параметра |
| Номинальное рабочее напряжение, кВ | 20 |
| Наибольшее рабочее напряжение, кВ | 24 |
| Выдерживаемое напряжение промышленной частоты в сухом состоянии, кВ, не менее | 65 |
| Выдерживаемое напряжение грозовых импульсов, кВ, не менее | 125 |
| Механическая разрушающая сила на изгиб, кH, не менее | 8,0 |
| Механическая разрушающая сила при сжатии, кH, не менее | 100 |
| Длина пути утечки, мм, не менее | 350 |
| Масса, кг, не более | 1,4 |
Изоляторы соответствуют ТУ 3494-014-54276425-2005








