Опорные стержневые полимерные изоляторы внутренней установки с кремнийорганической защитной оболочкой типа ОСК 5-10 УХЛ2 предназначены для изоляции и крепления токоведущих частей в электрических аппаратах, в токопроводах, в закрытых распределительных устройствах электрических станций и подстанций переменного тока напряжением до 10 кВ. Изоляторы изготовлены по технологии, применяемой для изоляторов наружной установки: металлические фланцы опрессованы на силовом элементе - высокопрочном стеклопластиковом стержне, соизмеримым по прочности с легированными конструкционными сталями. Поверх стержня и фланцев нанесена цельнолитая защитная кремнийорганическая (силиконовая) оболочка. Высокая гидрофобность поверхности защитной оболочки практически в любых условиях загрязнения и увлажнения росой обеспечивает низкие токи утечки (на 1 - 2 порядка ниже, чем у фарфоровых изоляторов), что, в свою очередь, повышает разрядные характеристики и положительным образом влияет на энергосбережение. Изоляторы имеют несколько исполнений по размерам присоединительных отверстий во фланцах. По согласованию с заказчиком возможно изготовление изолятора с другими присоединительными размерами крепежных отверстий во фланцах.
Опорные стержневые полимерные изоляторы внутренней установки на напряжение до 10 кВ типа ОСК 5-10 УХЛ2
| Наименование параметра | значение |
| Номинальное рабочее напряжение, кВ | 10 |
| Наибольшее рабочее напряжение, кВ | 12 |
| Испытательное напряжение промышленной частоты в сухом состоянии, кВ, не менее | 42 |
| Испытательное напряжение грозовых импульсов, кВ, не менее | 75 |
| Механическая разрушающая сила на изгиб, кH, не менее | 5 |
| Механическая разрушающая сила на сжатие, кH, не менее | 200 |
| Длина пути утечки, мм, не менее | 195 |
| Масса, кг, не более | 0,96 |
| Фарфоровый аналог | ИОР-10-3,75 УХЛ2 ИО-10-3,75 I У3 ИО-10-3,75 II У3 И4-80-I УХЛ2 И4-80-II УХЛ2 |
Изоляторы соответствуют ТУ 3494-014-54276425-2005
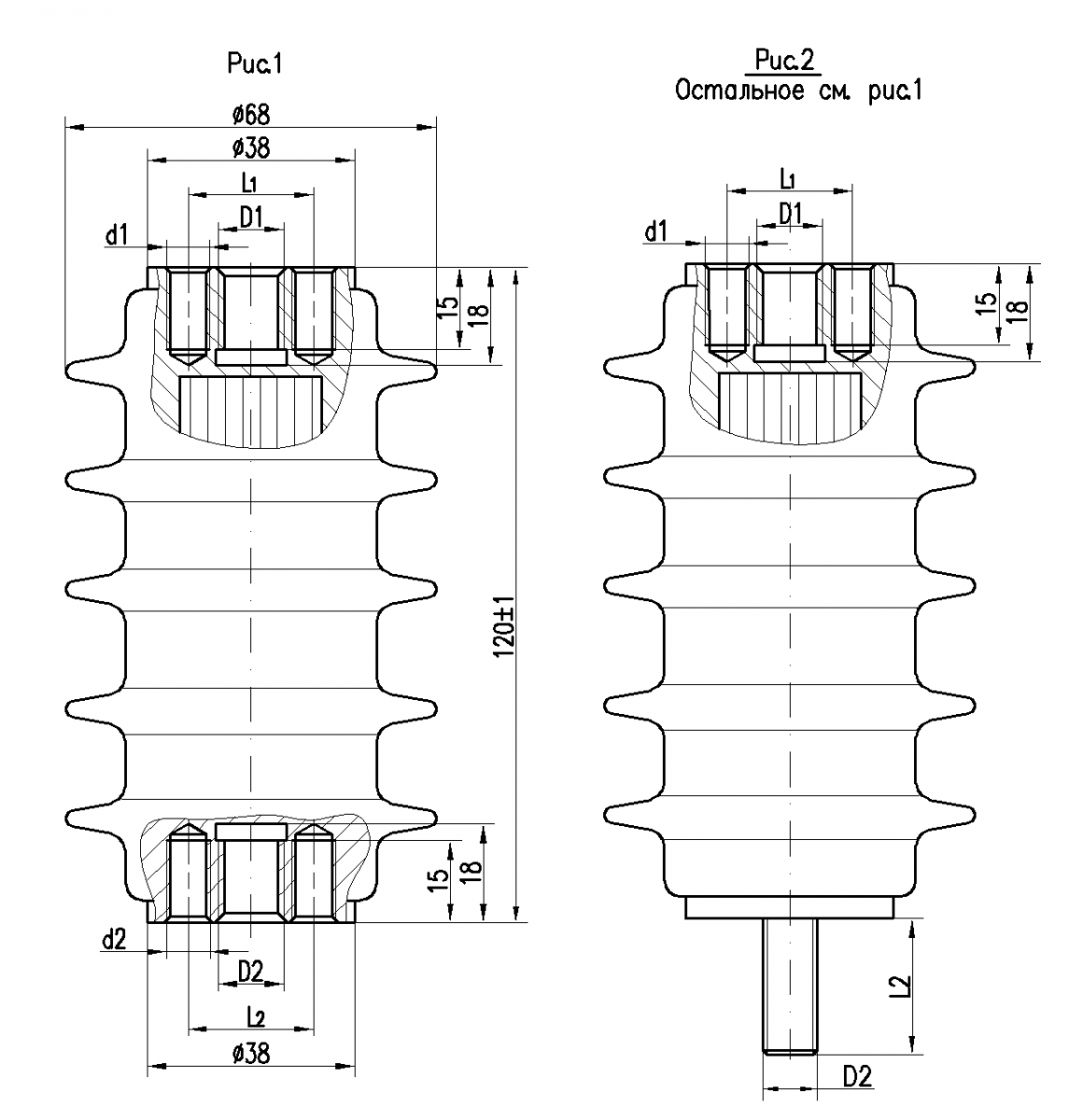
| Обозначение изолятора | № Рисунка | Верхний фланец * | Нижний фланец * | ||||
| D1, мм | d1, мм | L1, мм | D2, мм | d2, мм | L2, мм | ||
| ОСК 5-10-2 УХЛ2 | 1 | М16 | - | - | М16 | - | - |
| ОСК 5-10-4 УХЛ2 | 1 | - | 2 отв. М10 | 23 | - | 2 отв. М10 | 23 |
| ОСК 5-10-6 УХЛ2 | 1 | - | 2 отв. М10 | 23 | М16 | - | - |
| ОСК 5-10-8 УХЛ2 | 1 | - | 2 отв. М8 | 18 | М12 | - | - |
| ОСК 5-10-10 УХЛ2 | 1 | М12 | - | - | М12 | - | - |
| ОСК 5-10-11 УХЛ2 | 1 | М10 | - | - | - | 2 отв. М10 | 23 |
| ОСК 5-10-12 УХЛ2 | 1 | М8 | - | - | М10 | - | - |
| ОСК 5-10-13 УХЛ2 | 1 | М10 | - | - | М12 | - | - |
| ОСК 5-10-16 УХЛ2 | 1 | М10 | - | - | М10 | - | - |
| ОСК 5-10-17 УХЛ2 | 1 | М20 | - | - | М20 | - | - |
| ОСК 5-10-20 УХЛ2 | 1 | - | 2 отв. М8 | 18 | М16 | - | - |
| ОСК 5-10-21 УХЛ2 | 1 | М8 | - | - | М12 | - | - |
| ОСК 5-10-22 УХЛ2 | 1 | - | 2 отв. М8 | 23 | М12 | - | - |
| ОСК 5-10-25 УХЛ2 | 1 | М10 | - | - | М16 | - | - |
| ОСК 5-10-81 УХЛ2 | 2 | - | 2 отв. М8 | 18 | М12 | - | 27 |
Примечания:
1. * Разделение фланцев на верхний и нижний - условное. Любой из фланцев может быть как верхним, так и нижним.
2. По заказу изготавливаются изоляторы с другими размерами крепежных отверстий








